Компресор напівгерметичний поршневий, низькотемпературний. Об'ємна продуктивність: 95,3 м3/год. Фреон: R134a, R404a, R507a. Холодопродуктивність: 49,35 кВт. Електроживлення: 380-420 В / 50 Гц / 3 фази.
Опис Компресор холодильний Bitzer 6JE-25Y
Компактні напівгерметичні поршневі компресори серії ECOLINE поєднують у собі високу ефективність, плавність ходу, широкий спектр застосування, гнучкість у виборі холодоагенту, міцну конструкцію і високу надійність. Компресори Bitzer обладнуються високоефективними моторами, що охолоджуються всмоктуваними парами, високоякісними клапанними дошками, зносостійкими приводними та нагнітальними елементами, а також адаптивним регулюванням продуктивності.
Компресори Bitzer Ecoline — універсальні компресори, які відповідають високим вимогам сучасних систем охолодження. Мають розширену сферу застосування: R134a до tc=85 °C, R404a і R507a до tc = 62 °C. Висока холодопродуктивність і мінімальне енергоспоживання: високоефективні робочі клапани, мінімальний мертвий об'єм, ефективний мотор підвищеної потужності, знижені втрати потоку за низьких температур конденсації.
Компресори мають зносостійкий привод: загартована поверхня ексцентрикового вала та колінчастого вала, підшипники з низьким коефіцієнтом тертя й алюмінієві поршні, поршневі кільця, зміцнені хромом. Клапани виготовлені з ударостійкої пружинної сталі. Компресори цієї серії мають компактний дизайн, низький рівень пульсації газу завдяки спеціальній конструкції головки циліндрів. Можливе вимкнення циліндрів або зміна швидкості обертання, швидке циклічне вимкнення циліндрів.
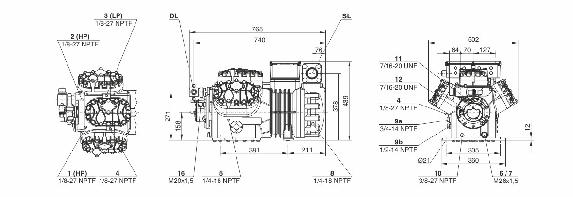
Схема-чертеж компресора Bitzer 6JE-25Y:

| Основні | |
|---|---|
| Виробник | Bitzer |
| Країна виробник | Німеччина |
| Гарантійний термін | 12 міс |
| Тип поршневого компресора | з прямим приводом |
| Тип поршневого компресора за застосуванням мастила | Масляний |
| Тип компресора по мобільності | Стаціонарний |
- Ціна: 219 745 ₴

